Интернет-магазин AвтоZапчастей
1 цена, 1 качество, 1 скорость

+7 (909) 281-50-61
+7 (905) 138-55-50
ПН-СБ с 08:00 до 20:00
ВС с 08:00 до 19:00

Мы ВКонтакте

М.Горького,10 - ТЦ Космос
Если вы не нашли полное наименование детали, попробуйте найти сокращенный вариант (подшипник - подш и т.п.)
Корзина всё
ещё пуста
Обратная связь читает ген. директор и собственник
Нам не стыдно за наши цены
телефоны менеджеров
Нам не стыдно за наши цены!
Каталог подбора запчастейКаталог запчастей Газ  3111 (каталог 2004 г.)

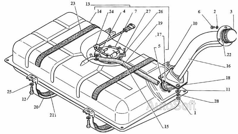
Бак топливный, бензонасос электрический погружной, труба наливная и пробка топливного бака


* Крупные изображения из каталога Вы можете перемещать по экрану
Метка Каталожный номер Наименование детали Наличие
4 показать на схеме 00.78.00 Хомут 20-32 нет в наличии
используйте поиск
5 показать на схеме 00.78.00-03 Хомут 54-72 нет в наличии
используйте поиск
6 показать на схеме 201417-П29 Болт М6-6gх14 ОСТ 37.001.123-96 нет в наличии
используйте поиск
10 показать на схеме 201495-П29 Болт М10-6gх20 ОСТ 37.001.123-96 нет в наличии
используйте поиск
27 показать на схеме 224596-П Винт М5х8 нет в наличии
используйте поиск
1 показать на схеме 250610-П29 Гайка М8-6Н ОСТ 37.001.124-93 нет в наличии
используйте поиск
11 показать на схеме 252038-П29 Шайба 8 ОСТ 37.001.144-96 нет в наличии
используйте поиск
25 показать на схеме 252136-П2 Шайба 10 ОТ ОСТ 37.001.115-75 нет в наличии
используйте поиск
26 показать на схеме 252153-П2 Шайба 5Л ОСТ 37.001.115-75 нет в наличии
используйте поиск
28 показать на схеме 252155-П2 Шайба 8Л ОСТ 37.001.115-75 нет в наличии
используйте поиск
2 показать на схеме 252174-П29 Шайба 2-6 ОСТ 37.001.145-75 нет в наличии
используйте поиск
12 показать на схеме 290813-П29 Болт М10-6gх45 нет в наличии
используйте поиск
3 показать на схеме 3102-1103010-01 Пробка топливного бака нет в наличии
используйте поиск
13 показать на схеме 3111-1101006 Бак топливный с насосом нет в наличии
используйте поиск
14 показать на схеме 3111-1101010 Бак топливный нет в наличии
используйте поиск
15 показать на схеме 3111-1101022 Кольцо уплотнительное показать наличие
Каталожный номер Фото Артикул Наименование Модель Ед. Наличие Цена в магазине сегодня Цена интернет магазина
3111-1101022
  • кольцо уплотнительное модуля погружного электробензонасоса РТИ Волга,Газель 3111-1101022 (в наличии за 24.00 руб.)
400000006356 кольцо уплотнительное модуля погружного электробензонасоса РТИ Волга,Газель 3111-1101022 Газ шт
в наличии
1 шт.
24.00руб.
21.00руб.
В корзину
16 показать на схеме 3111-1101060 Труба наливная нет в наличии
используйте поиск
17 показать на схеме 3111-1101070 Шланг налив трубы нет в наличии
используйте поиск
18 показать на схеме 3111-1101077 Прокладка трубы на нет в наличии
используйте поиск
19 показать на схеме 3111-1101078 Шланг воздушной трубки нет в наличии
используйте поиск
20 показать на схеме 3111-1101110 Хомут топлив бака нет в наличии
используйте поиск
21 показать на схеме 3111-1101120 Прокладка нет в наличии
используйте поиск
22 показать на схеме 3111-1101150-10 Уплотнит трубы нал нет в наличии
используйте поиск
24 показать на схеме 3111-3761217 Держатель нет в наличии
используйте поиск
7 показать на схеме 501.1139000 Насос топливный нет в наличии
используйте поиск
23 показать на схеме 51П-1102120-Б Прокладка нет в наличии
используйте поиск